|
|
Состояние пенсионного обеспечения в свете реформ
Ю.П. Лежнина
(Раздел опубликован в: Доклад по социальной политике ИС РАН:
М. 20061, полная версия
размещена на сайте Института социологии РАН, адрес: http://www.isras.ru/analytical_report_SociaPpolicy.html)
Проблема поддержки пенсионеров была и остается одной
из основных в социальной политике, так как уровень жизни этой категории
россиян значимо отражается на уровне жизни страны, поскольку данная
группа составляет примерно 27% населения России. Причем, данный
процент с каждым годом увеличивается в связи с тенденцией старения
населения. В последние десятилетия содержание пенсионеров традиционно
ложилось в нашей стране на плечи государства. В настоящее время
федеральный центр пытается частично снизить эту ответственность
– проведением пенсионной реформы и разделением пенсионных отчислений
на страховую и накопительную части. Как сказывается эта реформа
на положении сегодняшних пенсионеров и их жизни? Как россияне относятся
к изменениям, происходящим в пенсионной сфере?
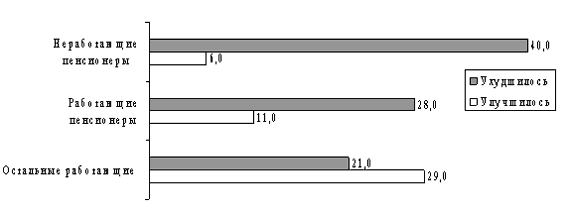
Результаты данного исследования показывают, что,
несмотря на идущую индексацию пенсий, в последнее время наблюдается
тенденция снижения уровня жизни российских пенсионеров – более трети
из них говорят об ухудшении своего материального положения. Особенно
трудно приходится неработающим пенсионерам, среди которых 40%
зафиксировали свой низкий уровень жизни (см. рис. 20).

Рисунок 20. Изменение материального положения россиян
за последние 2–3 года, в %2
Однако, как показало исследование, положение российских
пенсионеров в целом не такое плохое. Общая оценка ими своего материального
положения даже улучшилась по сравнению с той, что наблюдалась три
года назад. В 2006 году пенсионеры стали лучше питаться, приобретать
необходимую одежду.

Рисунок
21. Оценка своего положения пенсионерами в 2003 и 2006 гг., в %
Это
значит, что о признаках глубокой бедности можно говорить лишь применительно
к 25%–30% пенсионеров в отличие от 2003 года (50%.). Но при этом
подавляющее большинство пенсионеров не поднимаются выше уровня малообеспеченности,
в результате чего наблюдается деградация имущественного потенциала
семьи, что вызывает у части пенсионеров ощущение ухудшения своего
положения.
Так,
работающее население обладает достаточно широким спектром товаров
длительного пользования – у половины из них этих товаров насчитывается
их не менее 10, 7 из которых куплены за последние 7 лет. Для пенсионеров
ситуация качественно иная. Половина пенсионеров имеет не более 7
товаров длительного пользования, причем младше 7 лет у неработающих
пенсионеров являются только 3 из них (что не обеспечивает даже их
необходимого обновления), а для работающих – 5. Более четверти неработающих
пенсионеров не имеют полного набора товаров, который считается сейчас
россиянами абсолютно необходимым, и отсутствие хотя бы одного предмета
из которого рассматривается ими как признак бедности (холодильник,
стиральная машина, пылесос, ковер, мебельный гарнитур и цветной
телевизор).
Как же оценивает в перспективе свое материальное положение
население России, в том числе работающие и неработающие пенсионеры
(см. рис.22).
Рисунок
22. Оценка перспектив изменения своего материального положения на
ближайшие 2–3 года, в %3
Как
видно из рисунка 22, положение большинства российских пенсионеров
действительно продолжает внушать тревогу, а у части из них – даже
ухудшается. Связано ли данное ухудшение с системой пенсионного
обеспечения, или «корень зла» в чем-то другом?
Судя по данным исследования, последнее предположение
более вероятно. Среди неработающих пенсионеров доля тех, кто считает,
что ситуация в сфере пенсионного обеспечения ухудшилась, составляет
всего 28% при том, что число считающих ее улучшившейся достигает
31%. Более того, в отличие от оценки динамики своего собственного
материального положения, в этом вопросе нет серьезных различий между
пенсионерами и работающими россиянами (см. рис. 23). При этом, кто
отмечает ухудшение своего положения в последние годы, динамику ситуации
в сфере пенсионного обеспечения оценивают негативно только 36% пенсионеров.

Рисунок
23. Изменение ситуации в сфере пенсионного обеспечения за время
президентства В.Путина, в %4
Как
видно из рисунка 23, ситуация в сфере пенсионного обеспечения в
период руководства страной В. Путиным изменилась незначительно.
Неработающие пенсионеры (31%) считают, что ситуация изменилась в
лучшую сторону, а вот работающие пенсионеры оценили в процентном
соотношении одинаково (27%) – ухудшилась, и столько же – улучшилась.
Сегодня треть пенсионеров проживают отдельно, а остальные
живут совместно с более молодыми родственниками, естественно, динамика
их ситуации влияет на положение семей в целом (в настоящий момент,
судя по данным исследования, в России 14% населения живут в семьях,
состоящих только из пенсионеров, и 26% – в семьях, в составе которых
есть пенсионеры). Причем если в 90-х годах достаточно распространена
была ситуация, когда вся семья жила на пенсию одного из своих членов,
то сейчас она качественно изменилась (см. рис. 24). Возможно, это
связано с ростом зарплат работающих, но в любом случае остается
фактом, что семьи, состоящие как из работающих, так и пенсионеров,
оценивают динамику своего положения хуже, чем не имеющие пенсионеров
в своем составе. Таким образом, пенсионер оказывается сегодня
для семьи в тягость, или, по крайней мере, снижает ее жизненный
уровень.

Рисунок 24. Изменение материального положения россиян
за последние 2-3 года,
в %5[4]
Учитывая, что в настоящее время социальные пособия и
пенсии, за счет которых формируется доход пенсионеров, значительно
ниже трудовых заработков, эта разница способна значимо повлиять
на среднедушевой показатель дохода домохозяйств, в составе которых
есть как пенсионеры, так и работающие (см. рис. 25), а следовательно
– и на динамику их материального положения.

Рисунок
25. Среднедушевой доход россиян из разных типов семей, в рублях
Сегодня
пенсионеры являются, наряду с детьми, ключевыми членами семьи, определяющими
положение домохозяйства. Для того чтобы понять, за счет чего они
играют, несмотря на наличие собственных источников доходов, негативную
для благосостояния семьи роль, необходимо рассмотреть расходы и
доходы семей разных типов.
Крайне
значимая характеристика состояния бюджета семей – расходы. Их состав
различен для семей пенсионеров, семей с пенсионерами или без них.
Дополнительная статья расходов как первых, так и вторых, – медицинское
обслуживание пенсионеров, что связано с худшим по сравнению с остальным
населением состоянием их здоровья. Так, если 41% пенсионеров говорят
о плохом состоянии своего здоровья и только 5% – о хорошем, то остальное
население наоборот – в 37% случаев имеет по самооценкам хорошее
и отличное здоровье и лишь в 8% случаев – плохое.
В
этой связи нельзя не обратить внимания на то, что пенсионеры, естественно,
чаще других сталкиваются с проблемами, связанными со своим здоровьем
или здоровьем других членов семьи. О них говорят 54% неработающих
и 41% работающих пенсионеров, в то время, как для остальных работающих,
этот показатель равен 29%. При этом из-за нехватки денег 18% пенсионеров
не смогли в течение последнего года позволить себе стационарное
лечение (для остального населения этот показатель равен 8%), а 38%
– купить лекарства (для остального населения этот показатель – 17%).
Не удивительно, что в случае необходимости платной операции или
дорогостоящего лечения более половины пенсионеров (при чуть более
трети работающих) не смогли бы найти требующиеся для этого средства
(см. табл. 4).
Таблица
4. Оценки россиянами того, где бы они взяли деньги, если бы
им предстояли платная операция или дорогостоящее лечение6,
в %
|
|
Неработающие пенсионеры
|
Работающие пенсионеры
|
Остальные работающие
|
|
Обошлись бы своими средствами
|
7,0
|
9,0
|
17,0
|
|
Обратились бы за помощью к родственникам, друзьям
|
32,0
|
41,0
|
50,0
|
|
Обратились бы за помощью к государственным организациям
|
8,0
|
3,0
|
6,0
|
|
Обратились бы за помощью к общественным организациям
|
2,0
|
1,0
|
6,0
|
|
Даже не представляю, что бы я стал (а) делать
|
57,0
|
56,0
|
36,0
|
Как
видно из таблицы 4, работающие россияне имеют некоторые собственные
резервы и обладают сетью знакомых, которые могут помочь. Их широкий
круг общения состоит из коллег по работе, школьных и университетских
друзей, которые, также, будучи в трудоспособном возрасте, имеют
бóльшие материальные возможности, чем пенсионеры. Пенсионеры
могут рассчитывать на помощь друзей намного меньше, так как, если
они и есть, то тоже, как правило, не имеют свободных средств. Легче
приходится тем пенсионерам, которые работают и имеют коллег по работе
или живут с другими членами семьи непенсионного возраста, что расширяет
диапазон их социальных связей, а также тем, кто в свое время работал
руководителем, служащим или специалистом с высшим образованием,
то есть, принадлежал к более благополучным слоям населения. Остальных
пенсионеров необходимость поиска материальных средств на дорогостоящее
лечение загоняет в тупик. Более половины из них говорят о том, что
не представляют, что будут делать в таком случае.
В
этой ситуации не удивительно, что неработающие пенсионеры рассчитывают
на государство при проблемах со здоровьем больше, чем на себя. Но
при этом половина из них отмечает ухудшение ситуации со здравоохранением
в последние годы и массово выступает против реформ в этой сфере.
И действительно, учитывая то, что было сказано выше о недоступности
необходимой медицинской помощи для многих пенсионеров, это означает,
что планирующаяся реформа здравоохранения в первую очередь ударит
по пенсионерам, затрудняя им получение необходимой медицинской помощи.
Таким образом, дополнительные «медицинские» расходы
станут тяжелым грузом для пенсионеров и их семей. При этом положение
работающих пенсионеров несколько лучше, чем неработающих. Недаром
работающие пенсионеры чаще неработающих говорят о своих неблагоприятных
перспективах, поскольку велика вероятность потери работы, которая
может усложнить их ситуацию в будущем. Среднедушевой доход в семьях
работающих пенсионеров выше того, что наблюдается в семьях, где
пенсионеры не работают, но ниже, чем в семьях остальных работающих,
хотя доход включает в себя, наряду с заработной платой, также пенсию
(!), что и обуславливает их тревогу по поводу будущего (см. рис.
26).

Рисунок
26. Среднедушевой доход россиян из разных типов семей, в рублях
Трудовые
заработки помогают пенсионерам улучшить свое материальное положение.
Но рабочие места доступны далеко не всем. Главный ограничитель
выхода на работу – состояние здоровья.
Как видно из рисунка 27, состояние здоровья работающих
лучше, чем пенсионеров, а работающих пенсионеров – лучше, чем неработающих,
то есть, работать могут только те, кому это позволяет здоровье.
Поэтому работают пенсионеры в основном в раннем пенсионном
возрасте: средний возраст работающего пенсионера равен 62 годам,
в то время как неработающего – 67. Но трудовая деятельность ухудшает
ситуацию со здоровьем пенсионеров, так как работать им чаще приходится
«на подхвате», на низкооплачиваемых и маловостребованных среди более
молодых россиян должностях.

Рисунок
27. Состояние здоровья россиян по их самооценке, в %
Таблица
5. Профессионально-должностной статус работающего населения, в %
|
Профессиональный статус
|
Работающие пенсионеры
|
Остальные работающие
|
|
Предприниматель, имеющий более 5 наемных работников
|
0,0
|
1,0
|
|
Руководитель, заместитель руководителя предприятия или учреждения,
руководитель среднего звена
|
12,0
|
7,0
|
|
Специалист с высшим образованием
|
29,0
|
19,0
|
|
Военнослужащий, сотрудник МВД, прокуратуры (офицерский состав)
|
0,0
|
4,0
|
|
«Самозанятый» (индивидуальная трудовая деятельность,
частная практика и т.п.) или имеющий бизнес, где работают
члены Вашей семьи, а также бизнес с числом наемных работников
5 и менее человек
|
2,0
|
3,0
|
|
Служащий (включая неофицерский состав силовых ведомств),
офисный работник, работник из числа технического персонала
(секретарь, лаборант, библиотекарь, охранник и т.д.)
|
22,0
|
12,0
|
|
Рядовой работник торговли или сферы бытовых услуг (продавец,
парикмахер, и т.д.)
|
3,0
|
14,0
|
|
Квалифицированный рабочий
|
17,0
|
31,0
|
|
Разнорабочий, подсобный рабочий
|
13,0
|
9,0
|
|
Другое
|
2,0
|
0,0
|
Работающие
пенсионеры часто занимают позиции служащих и разнорабочих, не требующие
квалификации: вахтеров, консьержей, работников киосков, дворников,
билетеров, гардеробщиков и т.п. Причем они занимают эти позиции
чаще остального работающего населения. Можно сказать, что эти ниши
нацелены именно на пенсионеров с учетом их состояния здоровья, образа
жизни, материальных притязаний.
С
другой стороны, часть пенсионеров, хотя и небольшая, все же конкурирует
с более молодыми россиянами за рабочие места высокого уровня вплоть
до руководящих позиций. Нельзя не обратить внимания на то, что 12%
работающих пенсионеров (7% по остальным работающим) занимают должности
управляющих различного уровня, и что наблюдается большое количество
пенсионеров (27% от всех работающих пенсионеров), занимающих позиции
специалистов с высшим образованием (для остальных работающих этот
показатель равен 19%).
Разнообразие должностных позиций пенсионеров говорит
о том, что уровень квалификации является менее критичным, по сравнению
со здоровьем, блокиратором для трудовой деятельности после достижения
пенсионного возраста. При этом с ростом уровня образования все бóльшая
часть пенсионеров продолжает работать (см. рис. 28).

Рисунок
28. Зависимость занятости пенсионеров от уровня их образования,
в %
Продолжение трудовой деятельности, с разной вероятностью,
возможно в различных отраслях экономики (см. рис. 29). Максимальна
она для предприятий образования, науки, культуры, здравоохранения
и соцобеспечения. Пенсионеры работают в этих отраслях руководителями,
специалистами, служащими. Максимальная занятость пенсионеров
в этих сферах объясняется, с одной стороны, тем, что уровень зарплат
здесь достаточно невысок и существует ограниченный спрос на рабочие
места со стороны молодежи, а с другой стороны, квалификация, требующаяся
работникам организаций этих сфер, достаточно высока и присуща далеко
не каждому, что создает трудность поиска соответствующих кадров
среди молодых.

Рисунок
29. Занятость пенсионеров в различных отраслях экономики, в %
Как
показало исследование, самостоятельно улучшить свое положение, посредством
занятости в силу состояния здоровья, может далеко не каждый пенсионер,
а если и может, зачастую лишь ценой своего здоровья и, как правило,
получая при этом маленькую зарплату.
Как
выглядят последние новации российского государства, затронувшие
положение пенсионеров, и прежде всего, закон ФЗ-122, по которому
были заменены (в том числе и на основании заявлений пенсионеров)
денежной компенсацией многие льготы, включая бесплатное получение
лекарств? Судя по результатам исследования, население страны отрицательно
относится к данному закону, особенно те, кто отмечает ухудшение
ситуации со здравоохранением, а также пенсионеры из числа тех, кто
считает, что их материальное положение за последние 2-3 года ухудшилось.
Однако,
значимые изменения в системе пенсионного обеспечения связаны не
только с новшествами, введенными ФЗ-122, хотя об этом знает
далеко не каждый. Так, почти половина россиян не знают о пенсионной
реформе, включая появление накопительной части пенсии для лиц после
1967 года рождения, а 13% населения страны не знает о возможном
увеличении возраста выхода на пенсию. При этом первое начинание
полностью поддержали всего 23% осведомленного о нем населения, а
43% одобрили его общий замысел, но боятся, что от его реализации
их положение только ухудшится. Увеличение возраста
выхода на пенсию встречено россиянами менее одобрительно: только
7% населения разделяют подобный замысел.
В целом отношение к пенсионной реформе хуже у неработающих
пенсионеров и членов семей пенсионеров. Население предпенсионного
возраста, то есть те россияне, которые должны стать пенсионерами
в течение следующих пяти лет, также чаще критикуют, нежели поддерживают
пенсионную реформу. Лишь 18% считают ее правильной и способной улучшить
их положение, в то время, как 36% – имеют противоположное мнение.
Увеличение пенсионного возраста воспринималось практически всеми
россиянами как неправильное и вредное (см. рис. 30), естественно,
оно вызывает особенно негативную реакцию у тех, кто в ближайшие
5 лет достигает пенсионного возраста.

Рисунок
30. Отношение к возможному увеличению возраста выхода на пенсию,
в % от осведомленных о дискуссиях на эту тему
На
самом деле пенсионная реформа, в первую очередь, касается тех россиян,
которые родились позже 1967 года и имеют право на накопительную
часть пенсии. Их же коснется и повышение возраста выхода на пенсию,
которое вряд ли будет проведено в ближайшие несколько лет. Учитывая
это, удивительно, что данная группа россиян наиболее лояльно относится
к пенсионной реформе, хотя и понимают риск ухудшения собственного
положения в результате ее реализации.
Таблица
6. Отношение к изменениям в системе пенсионного обеспечения, в %
от осведомленных о них
|
|
Пенсионеры
|
Непенсионеры до 1967 г.р.
|
Непенсионеры после 1967 г.р.
|
|
Отношение к пенсионной реформе, включая появление накопительной
части пенсии для лиц после 1967 года рождения
|
|
Считают правильной и способной улучшить их положение и положение
их семьи
|
17,0
|
23,0
|
28,0
|
|
Считают в целом правильной, но боятся, что их положение от
этого только ухудшится
|
38,0
|
42,0
|
45,0
|
|
Считают неправильной и вредной по своим последствиям для
них и для их семьи
|
45,0
|
35,0
|
27,0
|
|
Отношение к возможному увеличению возраста выхода на пенсию
|
|
Считают правильной и способной улучшить их положение и положение
их семьи
|
5,0
|
3,0
|
5,0
|
|
Считают в целом правильной, но боятся, что их положение от
этого только ухудшится
|
6,0
|
10,0
|
12,0
|
|
Считают неправильной и вредной по своим последствиям для
них и для их семьи
|
89,0
|
87,0
|
83,0
|
Россияне,
родившиеся после 1967 года, не являются однородной группой. Пенсионная
реформа по-разному воспринимается ее представителями из различных
сфер профессиональной деятельности.
Как вытекает из данных на рисунке 31, максимальные показатели
одобрения пенсионной реформы наблюдаются у предпринимателей и «самозанятых».
Квалифицированные рабочие и руководители среднего звена в минимальной
степени поддерживают реформу. Лояльность к реформе снижается также
с увеличением возраста и жизненного опыта. Если среди молодежи до
26 лет ее считают правильной и способной улучшить их положение 36%
населения, то уже для 31–40-летних – этот показатель падает до 23%.
Рисунок
31. Одобрение пенсионной реформы представителями разных групп по
профессионально–должностному статусу, в % от осведомленных о ней
Также по-разному на пенсионную реформу смотрят и представители
групп, различающихся уровнем доходов. Чем больше среднедушевой доход
в семье, тем более лояльно отношение к реформе (см. рис. 32).

Рисунок
32. Отношение к пенсионной реформе, включая появление накопительной
части пенсии для лиц после 1967 года рождения, у представителей
разных доходных групп, в % от осведомленных о ней
Несмотря
на то, что пенсионная реформа воспринимается россиянами несколько
неоднозначно, некоторые из них уже использовали свои новые права
относительно размещения накопительной части пенсии в частных пенсионных
фондах (всего 2%).
В
этой связи в первую очередь стоит отметить, что именно те россияне,
которые перевели накопительную часть своей пенсии в частные пенсионные
фонды, в большей степени положительно расположены и к реформе в
целом.
Таблица
7. Отношение к пенсионной реформе, включая появление накопительной
части пенсии для лиц после 1967 года рождения, в % от осведомленных
о местонахождении накопительной части своей пенсии7
|
|
Считают правильной и способной улучшить их положение и
положение их семьи
|
Считают в целом правильной, но боятся, что их положение
от этого только ухудшится
|
Считают неправильной и вредной по своим последствиям для
них и для их семьи
|
|
Вкладчики государственного пенсионного фонда
|
25,0
|
44,0
|
31,0
|
|
Вкладчики частных пенсионных фондов
|
43,0
|
32,0
|
25,0
|
Основную
часть клиентов частных пенсионных фондов России составляет население
в возрасте 30–40 лет, живущее в основном в крупных городах. Наиболее
склонны к вложениям в частные пенсионные фонды предприниматели и
те россияне, чей среднедушевой доход составляет более 10000 рублей
в месяц. Это говорит о том, что приумножить пенсионные отчисления
при помощи более рисковых, но в то же время более доходных частных
пенсионных фондов, стараются в основном те, кто вкладывает туда
достаточно крупные суммы в силу высоких зарплат.
Несмотря
на то, что значительно большей популярностью у россиян обладает
пока государственный пенсионный фонд, его вкладчики чаще испытывают
опасения относительно старости и потери средств к существованию.
Среди клиентов частных фондов лишь 32% говорят о боязни остаться
без средств к существованию и 8% – о боязни старости, в то время
как для вкладчиков государственного пенсионного фонда эти
цифры равны 50% и 14%. Причины подобной разницы, скорее всего, кроются
в том, что в частные пенсионные фонды изначально вкладывают свои
средства более успешные россияне: жители мегаполисов с высокими
доходами, которые в большей степени уверены в своем будущем. Но
если население России поймет, что избираемая ими стратегия заботы
об обеспеченной старости более эффективна и начнет их копировать,
то распространение может получить и практика вложения накопительной
части пенсионных отчислений в частные пенсионные фонды (хотя, разумеется,
речь при этом идет о достаточно продолжительном периоде времени).
1
Подготовлен рабочей группой Института социологии РАН под руководством
члена-корреспондента РАН М.К. Горшкова в сотрудничестве с
Представительством Фонда имени Фридриха Эберта в Российской Федерации 2
На рисунке не представлены те, чье положение не изменилось. 3
На рисунке не представлены те, кто считает, что их положение не
изменится. 4
На рисунке не представлены считающие, что ситуация не изменилось. 5
На рисунке не представлены те, чья ситуация не изменилась, и те,
кто не ожидает ее изменения в ближайшие 2–3 года. 6
Допускалось несколько ответов. 7
Учитывались лишь те респонденты, которые говорили о размещении накопительной
части пенсионных отчислений в том или ином пенсионном фонде.
|